唐人阁论坛2025,一杯茶论坛全国兼职,51茶楼论坛网,一线天品茶论坛

全国服务热线:0755-26993877
当前位置: 首页 > 新闻中心 > 行业动态行业动态

电磁线圈参数影响电磁阀的性能,电阻、阻抗和匝数的特点参数

发布时间:2022-08-17 18:21:31点击量:

 几个电磁线圈参数影响电磁阀的性能。这些包括电阻、电感、电抗、阻抗和匝数。有时可能需要测量这些参数来预测阀门性能(驱动力、响应时间、功耗、灭弧器尺寸等)。电感、电抗、阻抗和匝数是线圈图纸或数据表中通常未指定的参数。它们不是线圈设计的受控特性。但如果需要,可以测量或计算这些参数。


 一、电阻和阻抗:


 电阻和阻抗通??梢曰セ皇褂?,但它们并不完全相同。电磁阀客户有时可能会在他/她真正指的是电阻时要求阻抗。线圈电阻通常在图纸或数据表中指定。


 线圈的电阻(以欧姆为单位)只是在室温(~20°C或25°C)下施加的直流电压与直流电流的比率。由于铜的电阻温度系数*,电阻会随着线圈温度的升高而增加。线圈的阻抗是交流线圈施加的交流电压与交流电流的比率。


 大多数直流和交流线圈的电阻可以用数字万用表(DMM)直接测量。线圈中具有集成桥式整流器的交流线圈的电阻不能用数字万用表直接测量。一些线圈制造商的交流线圈实际上是直流线圈,在线圈中嵌入了全波桥式整流器,要确定这种类型的交流线圈的电阻,可以连接直流电压源(~12Vdc或24Vdc)和数字万用表来测量电流,如下所示。

电磁线圈参数影响电磁阀的性能,电阻、阻抗和匝数的特点参数(图1)

 直流电压源可以是直流电源或电池??梢允褂靡韵鹿郊扑憬频南呷Φ缱瑁孕U攀秸髌髦械牡缪菇?。


 Rcoil=(Vdc-1.5V)/Adc


 对于没有集成桥式整流器的交流线圈,阻抗是电阻和电抗的组合。电阻是阻抗的直流部分,电抗是阻抗的交流部分(见下文)。

电磁线圈参数影响电磁阀的性能,电阻、阻抗和匝数的特点参数(图2)

 二、电抗、电感和匝数:


 电抗是电磁阀致动器的电感、电容、频率和磁性的函数。频率通常为60或50赫兹。在螺线管线圈中,电容可以忽略不计,因此电抗完全是感抗(X L),而容抗(X C)为零。阻抗是电阻和感抗的矢量和(Z 2=R 2+X 2)。角度?是电流波形相对于电压波形的相位滞后。


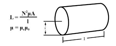
 螺线管线圈的电感(L)是匝数(N)、长度(L)和横截面积(A)的线圈尺寸以及阀门磁路的磁导率(μ)的函数。电感可以用LCR表测量。感抗在低频时较小,在高频时较大。

电磁线圈参数影响电磁阀的性能,电阻、阻抗和匝数的特点参数(图3)

地址:深圳宝安区新安街道67区甲岸科技园1号厂房1区5楼  电话:0755-26993877  手机:15012713703
Copyright ? 2021 深圳市藤仓自动化有限公司版权所有 ICP备案编号:粤ICP备16008317号